电磁接触器
的有关信息介绍如下:
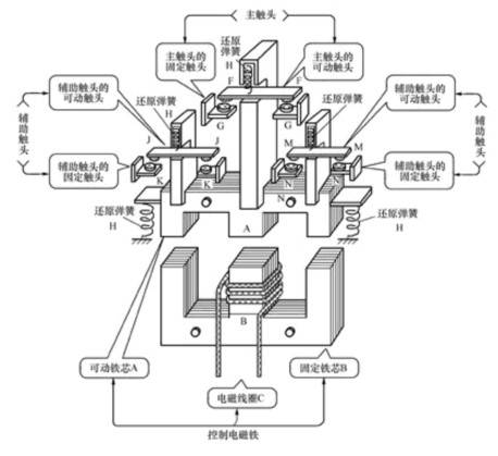
电磁接触器,magnetic contactor,接触器(Contactor)是指工业电中利用线圈流过电流产生磁场,使触头闭合,以达到控制负载的电器。接触器由电磁系统(衔铁、静铁心、电磁线圈)触头系统(常开触头和常闭触头)和灭弧装置组成。
想要了解更多“电磁接触器”的信息,请点击:电磁接触器百科

电磁接触器,magnetic contactor,接触器(Contactor)是指工业电中利用线圈流过电流产生磁场,使触头闭合,以达到控制负载的电器。接触器由电磁系统(衔铁、静铁心、电磁线圈)触头系统(常开触头和常闭触头)和灭弧装置组成。
想要了解更多“电磁接触器”的信息,请点击:电磁接触器百科