等离子体处理装置
的有关信息介绍如下:
《等离子体处理装置》是沈阳拓荆科技有限公司于2013年11月22日申请的专利,该专利的公布号为CN103632998A,申请公布日为2014年3月12日,发明人是凌复华、刘忆军、吴凤丽、姜崴、葛研、郑旭东。该发明涉及半导体制造领域技术。
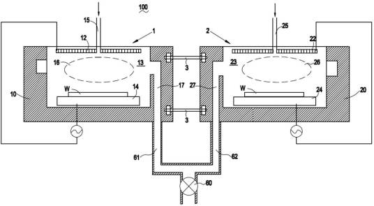
《等离子体处理装置》其包括:第一处理腔,具有第一墙及由第一墙包围形成的第一处理空间;第二处理腔,具有第二墙及由第二墙包围形成的第二处理空间;设置于第一处理腔与第二处理腔之间的连接件,第一、第二处理腔可拆卸地连接;气体供应系统以及排气系统,包括连通于所述第一处理空间的第一排气通道及连通于所述第二处理空间的第二排气通道,所述第一排气通道与所述第二排气通道相连通。该发明通过将多个处理腔以可拆卸方式进行连接,在实现两腔环境匹配的同时,降低设备的制造及维修成本。
2017年12月11日,《等离子体处理装置》获得第十九届中国专利优秀奖。
(概述图为《等离子体处理装置》摘要附图)
想要了解更多“等离子体处理装置”的信息,请点击:等离子体处理装置百科



